IV. 2MASS Data Processing


1. Processing Pipeline Overview

Approximately 17 GB of raw digital image data are acquired each clear night at the 2MASS observatories. These data are written to DLT tape (one tape per observatory per night) and transported to the Infrared Processing and Analysis Center (IPAC). At IPAC, the observatory data tapes are read and validated, and the data is reduced using the 2MASS Production Processing System (2MAPPS). 2MAPPS is designed to exploit 2MASS's innovative data acquisition techniques to produce image, point and extended source data.

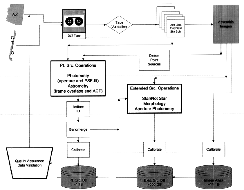
The 2MAPPS High Level Flowchart (Figure 1) illustrates the basic components of the 2MAPPS system. Data from one night and one observatory are processed as a unit. For each telescope-night, each 1 ° calibration or 6° survey scan is processed individually, with the J, H and Ks frame data in each scan processed in parallel. In general, scan data processing within 2MAPPS is a linear process with the output of each step being the input for each subsequent step. Iterations are held to a minimum for efficiency.

Figure 1

The basic scan processing steps are the same for calibration and survey scans, and are as follows:

Once all scan processing for data taken at one observatory in one night is completed, post-scan-processing is carried out. The nightly post-scan-processing steps include:

The sections below provide more detailed descriptions of each of these processing phases within 2MAPPS.

Pipeline processing yields lists of band-merged, photometrically and astrometrically calibrated point and extended source "detections" from each Survey and Calibration scan. These accumulated lists constitute the Working Source Databases from which the 2MASS Point and Extended Source Catalogs are drawn. The Catalog Generation processing is described in Section V.

[Last Update: 11 February 2000, by R. Cutri]


Previous page. Next page.
Return to Explanatory Supplement TOC Page.