IV. 2MASS Data Processing
1. Processing Pipeline Overview
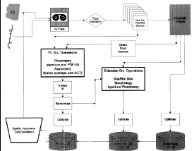
Raw data acquired at the 2MASS observatories is transported to the
Infrared Processing and Analysis Center (IPAC) via DLT tapes. At IPAC,
the raw data is reduced using the 2MASS Production
Processing System (2MAPPS). 2MAPPS is designed to exploit 2MASS's
innovative data acquisition techniques
to produce image, point and extended source data.
The 2MAPPS High Level Flowchart (Figure 1)
illustrates the basic components of the 2MAPPS system.
Data from each 6° 2MASS scan are processed as a unit, with
the J, H and Ks frames processed in parallel.
In general, data processing within 2MAPPS is a linear process with the
output of each step being the input for each subsequent step.
Iterations are held to a minimum for efficiency.
|
| Figure 1 |
The basic processing steps are as follows:
- Each "Read 1" (R1; 51-ms exposure) and "Read2-Read1" (R2-R1; 1.3-s
exposure) data frame from a survey or
calibration scan is dark-subtracted, flat-fielded and sky-illumination
corrected.
- Point sources are first detected and measured on each corrected
frame to provide first-order position reconstruction and frame-to-frame
offsets, as well as photometry for the brightest stars.
- The frames are then combined into the Atlas Images
- Point sources are detected from the Atlas Images for maximum
sensitivity.
- Positions and brightnesses are measured for each point source, and
artifacts produced from bright stars are then identified in the source
lists.
- Sources from the three bands are then "merged" into single sources,
and final position reconstruction is carried out relative to the
ACT catalog.
- Each bandmerged point source is then scrutinized to determine if it
is actually resolved. Extended source candidates are characterized,
deriving brightness and basic shape information.
The sections below provide more detailed descriptions of each of these
processing phases within 2MAPPS.
Previous page. Next page.
Return to Explanatory Supplement TOC Page.